Томск, Томская область, Россия
Томск, Томская область, Россия
Томск, Томская область, Россия
УДК 615.47 Медицинские инструменты и аппаратура. Медицинское оборудование и обстановка
УДК 616-036.82 Выздоровление, реконвалесценция
УДК 658.512.2 Проектирование изделий. Конструирование изделий. Художественное крнструирование. Оформление. Промышленная эстетика (дизайн). Расчет
Статья раскрывает особенности проектирования реабилитационного оборудования для восстановления здоровья после инсульта, одной из серьёзнейших проблем взрослого населения нашей страны и мира. В работе исследуется такой фактор как заинтересованность пациента в реабилитационных мероприятиях и как его можно учесть в разработке специализированного оборудования. В своих исследованиях авторы ставили целью разработку конкретных устройств реабилитационного оборудования, поэтому работа начиналась с анализа патентной литературы. Тем более, что эта литература строго структурирована, и поэтому удобна в анализе устройств реабилитационного оборудования. Для определения перспектив в проектировании реабилитационного оборудования следовало учесть мнение экспертов, работающих с пациентами. Была проведена классификация психологических и эргономических подходов в проектировании реабилитационного оборудования. Были выделены три основных подхода. Первый подход – это использование динамических отталкивающих эффектов. Второй подход – использование положительных статических психологических эффектов. Третий подход – использование положительных динамических эффектов. Мнение экспертов сводилось к следующему. Использование динамических отталкивающих эффектов для стимуляции пациента активно участвовать в своей реабилитации возможно только при реабилитации и тренировки людей с устойчивой психикой. Применение положительных психологических эффектов, основанных на использовании постоянных факторов (форма, цвет, тактильные ощущения), хорошо изучены и удобны в проектировании реабилитационного оборудования. Третий подход, основанный на использовании положительных динамических эффектов, в настоящее время активно развивается, на что указывает рост числа патентов. Разработка устройств, основанных на положительных динамических эффектах, наиболее перспективна в плане эксплуатации реабилитационного оборудования и в плане патентной защиты предлагаемых решений.
реабилитационное оборудование, эксперт, пациент, тренажер, динамический эффект
Введение
Опираясь на данные Всероссийского центра профилактической медицины, можно утверждать, что инсульт является одной из серьезных проблем взрослого населения нашей страны — от представленного заболевания умирает 25% мужчин и 39% женщин. Среди причин смерти инсульт занимает третье место среди развитых стран [1]. Из пациентов, перенесших инсульт 31% нуждаются в постоянном уходе, 20% не могут ходить самостоятельно и лишь 20% восстанавливают здоровье [2].
Для эффективной реабилитации после инсульта, а также после перенесших операций, травм используется специализированное оборудование [3]. Активное использование разработанных реабилитационных тренажеров в лечебном процессе дают хорошие результаты, но по мнению врачей реабилитологов существует серьезная проблема — довольно часто люди, перенесшие инсульт, травму или серьезную операцию находятся в депрессии или в подавленном эмоциональном состоянии и не имеют желания активно проводить лечебные занятия с помощью специализированного оборудования, которое крайне необходимо для полного восстановления здоровья [4].
- Способы решения проблемы
Заинтересованность и желание человека активно участвовать в своей реабилитации играет огромное значение для сокращения сроков восстановления здоровья [5]. Вывести больного из депрессивного состояния и заинтересовать комплексом реабилитационных мероприятий, довольно часто, бывает очень сложно [6].
Решению данной проблемы предлагается тремя способами:
- Использование постепенно действующих положительных факторов, формы и цвета.
- Использование динамических привлекающих эффектов.
- Использование динамических отталкивающих эффектов.
Вследствие того, что использование динамических отталкивающих эффектов может вводить пациентов с неустойчивой психикой в состояние страха или паники, то данное направление не будет рассматриваться как основное. Комплексное решение использования постепенно действующих положительных факторов и динамических привлекающих эффектов предлагается использовать в решении выдвинутой проблемы.
В своих исследованиях авторы ставили целью разработку конкретных устройств реабилитационного оборудования, поэтому работа начиналась с анализа патентной литературы. Тем более, что эта литература строго структурирована, и поэтому удобна в анализе устройств реабилитационного оборудования. Так как в результате работы предполагалось создание устройств, используемых в России, то упор в патентных исследованиях делался на патенты, Российской Федерации.
Известен тренажер, предназначенный для тренировки конечностей спортсменов, в особенности пальцев и кистей рук как показано на рисунке 1 [2].
Он может быть использован также для реабилитации оперированных больных, для лечения детей, пораженных детским церебральным параличом. Тренажер для тренировки конечностей для расширения функциональных возможностей содержит нагружатель, выполненный в виде жестко смонтированного на оси диска, на поверхности одного из торцов которого на равном расстоянии от оси установлены постоянные магниты. Недостатком этого тренажера является то, что он не дает дополнительный стимул к реабилитационным занятиям.
Рис. 1. Патент РФ № 2169027, опубликовано: 02.11.2000
Fig. 1. Patent of the Russian Federation No. 2169027, published: 02.11.2000
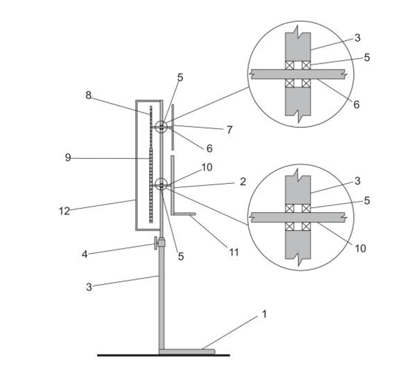
Известен тренажер многофункциональный реабилитационный для восстановления и развития функций верхних конечностей, содержащий основание, штурвал, регулируемые опоры как показано на рисунке 2 [7].
Рис. 2. Патент №RU174145 (U1), 2017-10-04, опубликовано: 04.10.2017
Fig. 2. Patent No.RU174145 (U1), 2017-10-04, published: 04.10.2017
Основание выполнено в виде столешницы стола, а регулируемые опоры выполнены в виде ножек стола, горизонтально расположенный вал штурвала установлен на основании на вертикальных опорах с возможностью вращения относительно опор, штурвал поджат к опоре усилием сжатия пружины с возможностью настройки усилия сжатия пружины регулировочной гайкой, установленной на вал штурвала по резьбе, на противоположном конце относительно штурвала на валу штурвала закреплена рукоятка с возможностью её удержания захватом кисти руки и вращения вместе с валом штурвала. Недостатком этого тренажера является то, что он не дает дополнительный стимул к реабилитационным занятиям.
Известен психологический эффект, часто называемый «Эффект Фехнера-Бенхема». Для демонстрации этого эффекта используется волчок с «Диском Бенхема», который представляет диск с нанесенными на нём в определённом порядке чёрно-белыми полосами – секторами как показано на рисунке 3 [8]. При приведении волчка во вращение (примерно 10 оборотов в секунду возникает ощущение ненасыщенных синих, зеленых, желтых и красных тонов. Эти ощущения возникают даже у дальтоников, и это говорит о роли психики человека в вопросе восприятия цвета.
Рис. 3. Диск Бенхема
Fig. 3. Benham's disk
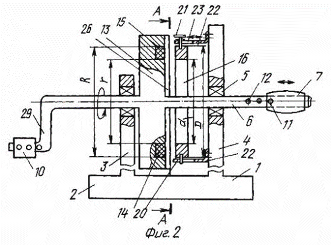
В описанном виде «диск Бенхема» не может быть использован в качестве реабилитационного тренажера. Требовалось спроектировать устройство, которое предполагает внедрение в тренажер технического решения, реализующее «Эффект Фехнера-Бенхема». Для реализации этого решения наиболее подходил тренажёр, позволяющий восстанавливать функции плечевого и локтевого сустава. На рис. 4 показан эскиз реабилитационного тренажёра с использованием «Эффекта Фехнера-Бенхема».
Рис. 4. Эскиз реабилитационного тренажёра с использованием «Эффекта Фехнера-Бенхема»
Fig. 4. A sketch of a rehabilitation simulator using the "Fechner-Benham effect"
Предлагаемый тренажер для восстановления функций верхних конечностей работает следующим образом [9]. Пациент с помощью рукояти 11 приводит во вращение штурвал 2, движение от которого передается через ведущий вал 10 на ведущее зубчатое колесо 9. Ведущее зубчатое колесо 9 входит в зацепление с ведомым зубчатым колесом 8, движение от которого через ведомый вал 6 передается на «диск Бенхема» 7. Поскольку ведомое зубчатое колесо 8 выполнено меньше ведущего зубчатого колеса 9 (Отношение числа зубьев находиться в диапазоне i =Z2/Z1
= (5-10)) и входит с ним в зацепление, то «диск Бенхема» 7 вращается быстрее штурвала (со скоростью 5-10 оборотов в секунду). Вращение штурвала осуществляется со скоростью 1-2 оборота в секунду. Ведущий вал 8 оснащен диском с нанесенными на него в определённом порядке чёрно-белыми полосами-секторами, и при его вращении со скоростью 5-10 оборотов в секунду возникает ощущения ненасыщенных синих, зеленых, желтых и красных тонов. Это вызывает удивление и эмоциональный подъем, что дает дополнительный стимул к реабилитационным занятиям, тем самым повышая эффективность процесса реабилитации.
С помощью подставленной концепции предлагается заинтересовать пациента, используя динамические привлекающие эффекты. Кроме того, человек использующий тренажер, наблюдая представленный эффект, может контролировать интенсивность реабилитационных занятий.
При разработке корпуса реабилитационного тренажера предлагается учитывать постоянно действующие положительные факторы, влияющие на эргономику устройства с помощью формы и цвета, как показано на рисунке 5 [10].
Рис. 5. Эскизное решение корпуса тренажера
Fig. 5. Sketch design of the simulator body
Форма корпуса тренажера пластична и повторяет очертания «диска Бенхема» и визуально стимулирует к вращательным движениям пациента. В основу корпуса изделия положена форма круга, не имеющая углов и в следствии этого визуально самая доброжелательная форма [11].
Опираясь на данные эргономических исследований, для корпуса изделия был определен оттенок голубого цвета, способствующего сосредоточенности, снижению мышечного напряжения, настраивающий на терпение во время сеансов реабилитации. Для штурвала тренажера был определен светло-зеленый цвет повышающий мышечную работоспособность. Самые визуально-активные детали оборудования: рукоять штурвала и графический элемент в виде стрелки окрашены в оттенок, желтого цвета, который визуально активизирует двигательные центры, вызывает радостное настроение, генерирует энергию мышц [12], [13].
Рассмотрим тренажеры другого типа, разработанные для реабилитации пациентов с нарушенной координацией движения, а также для людей, желающих развития двигательно-координационных навыков и возможностей.
Известно устройство для биомеханического воздействия на организм человека содержащее базовую опору, предназначенную для размещения на ней, по меньшей мере, нижних конечностей человека, и слой пружин, на которых установлена базовая опора с возможностью обеспечения колебательного движения вдоль координатных осей х, y и z и вращения относительно координатных осей х и y при воздействии на нее человека представленное на рисунке 6 [14].
Рис. 6. Устройство для биомеханического воздействия на организм человека
Fig. 6. A device for biomechanical effects on the human body
Недостатком этого тренажера является то, что он не дает дополнительный стимул к реабилитационным занятиям.
Известен тренажер-балансборд содержащий диск с площадкой для ног, установленный на сфере представленный на рисунке 7 [15].
Рис. 7. Тренажер-балансборд
Fig. 7. Balance board simulator
На диске смонтирован датчик положения диска. В сфере смонтированы модуль управления и модуль сопряжения с персональным компьютером или мобильным устройством. Представленные модели реабилитационного оборудования, разработанные для реабилитации пациентов с нарушенной координацией движения, а также для людей, желающих развития двигательно-координационных навыков и возможностей, не дают дополнительный стимул к реабилитационным занятиям. Для решения данной проблемы было принято решение разработать концептуальное решение тренажера для реабилитации пациентов с нарушенной координацией движения и тренировки двигательно-координационных навыков с дополнительной функцией – стимулировать человека к проведению тренировок. Концептуальное решение тренажера основывалось на образе лодки, и представлено на рисунке 8.
Рис. 8. Концептуальное решение тренажера в виде лодки
Fig. 8. The conceptual solution of the simulator in the form of a boat
Реабилитационное оборудование в виде лодки можно представить состоящим из двух частей: первая – корпус с сиденьем и столом: вторая – лабиринт. Человек, меняя своё положение на стуле, изменяет положение стола и лабиринта на нём. При строгой координации движений своего тела человек может управлять движением шарика в лабиринте.
Опираясь на данные эргономических исследований с точки зрения колористки, для корпуса изделия был определен оттенок бежевого цвета, отражающий натуральную окраску лодки. Выбранный оттенок вместе с формой тренажера напоминающий форму лодки создает ощущения узнаваемости объекта и комфорта восприятия, а также желание начать пользоваться им. Обивка сидения тренажера, представленного в концепции в виде стула, окрашена темно-голубым цветом способствующего сосредоточенности, уверенности, снижению мышечного напряжения, настраивающий на терпение во время сеансов. Перегородки лабиринта также окрашены темно-голубым цветом, способствующим сосредоточению внимания и спокойствию. Поле лабиринта окрашено белым цветом, обеспечивая контрастное решение и хороший обзор игрового поля. Самые визуально-активные детали оборудования: ручки и шарик окрашены в оттенок, оранжевого цвета, который визуально активизирует двигательные центры, вызывает радостное настроение, генерирует энергию мышц [16].
Заключение
Для определения перспектив в проектировании реабилитационного оборудования следовало учесть мнение экспертов, работающих с пациентами. Была проведена классификация психологических и эргономических подходов в проектировании реабилитационного оборудования. Были выделены три основных подхода. Первый подход – это использование динамических отталкивающих эффектов. Второй подход –использование положительных статических психологических эффектов. Третий подход –использование положительных динамических эффектов.
Мнение экспертов сводилось к следующему. Использование динамических отталкивающих эффектов для стимуляции пациента активно участвовать в своей реабилитации возможно только при реабилитации и тренировки людей с устойчивой психикой. Применение положительных психологических эффектов, основанных на использовании постоянных факторов (форма, цвет, тактильные ощущения), хорошо изучены и удобны в проектировании реабилитационного оборудования. Третий подход, основанный на использовании положительных динамических эффектов, в настоящее время активно развивается, на что указывает рост числа патентов. Замечено, что есть аналогия между факторами развития ребёнка и факторами реабилитации пациентов после инсультов и физических травм. Поэтому, например, идея детской игрушки «Дюймовочка» ждёт своего часа в использовании её в реабилитационном оборудовании.
Выводы
-
-
-
- Для плодотворного использования динамических отталкивающих эффектов для стимуляции пациента активно участвовать в своей реабилитации необходимо углублённое изучение специфики взаимодействия пациента с реабилитационным оборудованием.
- Использование постоянных факторов (форма, цвет, тактильные ощущения), хорошо изучено и удобно в проектировании реабилитационного оборудования.
- Применение положительных динамических эффектов, в настоящее время активно развивается имеет большие перспективы. В этом направлении продуктивно использовать наблюдаемую схожесть между факторами развития ребёнка и факторами реабилитации пациентов
-
-
1. Clifton D.W. Chapter 15 - How to Locate Sources of Disability-Related Data. Physical Rehabilitation's Role in Disability Management. 2005. P. 229-238. ISBN 9780721684741. DOIhttps://doi.org/10.1016/B978-072168474-1.50020-9.
2. Быкова Е.Н., Кириченко О.М. Концепции творческого формообразования в стиле модерн // Вестник Харьковской государственной академии дизайна и искусств. 2014. № 2. С. 56-60. EDN QIFSHT.
3. Rice V.J.B. Chapter 10 - Human Factors in Medical Rehabilitation Equipment: Product Development and Usability Testing. Ergonomics for Therapists (Third Edition). Mosby, 2008. P. 151-172. ISBN 9780323048538. DOIhttps://doi.org/10.1016/B978-032304853-8.50013-5.
4. Gorgey A.S., Sumrell R., Goetz L.L. 44 - Exoskeletal Assisted Rehabilitation After Spinal Cord Injury. Atlas of Orthoses and Assistive Devices (Fifth Edition). Elsevier, 2019. P. 440-447.e2, ISBN 9780323483230. DOIhttps://doi.org/10.1016/B978-0-323-48323-0.00044-5.
5. Young J. CHAPTER 103B - Rehabilitation: General Principles. Textbook of Geriatric Medicine and Gerontology (Seventh Edition). 2010. P. 1-21. ISBN 9781416062318. DOIhttps://doi.org/10.1016/B978-1-4160-6231-8.10129-1.
6. Nielsen G. Chapter 45 - Physical treatment of functional neurologic disorders. Handbook of Clinical Neurology, Elsevier. 2016;139:555-569. ISBN 9780128017722. DOIhttps://doi.org/10.1016/B978-0-12-801772-2.00045-X.
7. Патент № 2169027 C1 Российская федерация, МПК А63В 23/12. Тренажер для тренировки конечностей: № 2000127450/12: заявл. 02.11.2000: опубл. 20.06.2001 / Е. А. Духовской, А. А. Миронов, Е. Е. Яскевич.
8. Патент на полезную модель № 174145 U1 Российская Федерация, МПК A63B 23/12. Многофункциональный реабилитационный тренажер для восстановления и развития функций верхних конечностей : № 2017104741 : заявл. 15.02.2017 : опубл. 04.10.2017 / А. В. Михайлов, В. В. Михайлов ; заявитель Общество с ограниченной ответственностью научно-производственное предприятие "Детская восстановительная медицина". – EDN BXNUIF.
9. Ременко С. Цвет и зрение / под ред. И. П. Молодян, Ф. И. Гыцу. Кишинёв: Картя Молдавеняска, 1982. С. 35-37. 160 с.
10. Патент № 2674897 C1 Российская Федерация, МПК A63B 23/12. устройство для тренировки верхних конечностей : № 2018119236 : заявл. 24.05.2018 : опубл. 13.12.2018 / А. П. Соколов, Ю. П. Хмелевский, М. С. Кухта; заявитель Федеральное государственное автономное образовательное учреждение высшего образования "Национальный исследовательский Томский политехнический университет". – EDN MZDXTI.
11. Шкиль, О.С. Основы эргономики в дизайне среды. Часть I: Учебное пособие. Благовещенск: Изд-во АмГУ, 2010. 164 с.
12. Корниенко Н.А. Проективная психология типологии личности // Профессиональное образование в современном мире. 2023. Т. 13, № 2. С. 353-376. DOIhttps://doi.org/10.20913/2618-7515-2023-2-18. EDN NANWKS.
13. Смирнов А.Б. Эргономика: учебное пособие. 2016, 125 с.
14. Кочегаров Б.Е. Промышленный дизайн: Учеб. пособие. Владивосток: Изд-во ДВГТУ, 2006. 297 с. ISBN 978-5-7596-0724-3.
15. Патент № 2501589 C2 Российская Федерация, МПК A63B 22/16. устройство для биомеханического воздействия на организм человека : № 2011147280/12 : заявл. 22.11.2011 : опубл. 20.12.2013 / А. С. Кахидзе, М. А. Туржанская, М. Ф. Агашин [и др.]. – EDN LMVZCZ.
16. Патент на полезную модель № 144815 U1 Российская Федерация, МПК A63B 23/00. Балансборд : № 2014108461/12 : заявл. 05.03.2014 : опубл. 27.08.2014 / А. В. Соловей. – EDN AXLDWX.




